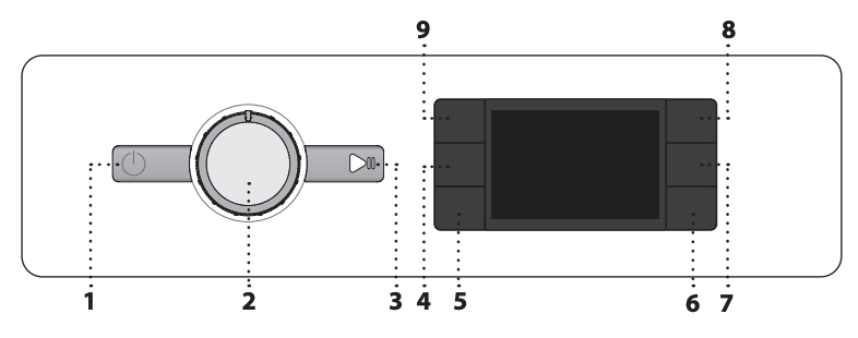
Notice Whirlpool FFB8448BVFR : Section PANNEAU DE COMMANDE
Lisez le chapitre PANNEAU DE COMMANDE dans le mode d'emploi de la notice
Whirlpool FFB8448BVFR
via
le macaron TagnIot NFC directement
sur votre smartphone. TagnIot utilise la technologie NFC pour vous délivrer le mode d'emploi de
votre appareil via votre smartphone.
Plus besoin de télécharger la notice d'utilisation Whirlpool
FFB8448BVFR
Lave linge hublot . Rapprochez simplement votre smartphone
équipé de
la technologie NFC et lisez directement le chapitre PANNEAU DE COMMANDE dans le mode d'emploi


